2025-06-30 14:49
成筐充电宝机场被拦!有3C认证也飞不了?你中招了吗?长按二维码阅读全文

6月28日,民航局一项关于充电宝乘机的紧急新规正式实施,全国多地机场安检口出现“成筐充电宝被拦”的场景。


网上流传的现场图片显示成筐的充电宝在机场被拦下 图片来源:国家应急广播
3C认证成硬门槛 召回型号被严查
根据新规,无3C认证标识、3C标志不清晰、被召回型号或批次的充电宝乘坐境内航班。
随着新规的实施,全国各大机场安检部门均在加强对旅客携带充电宝的查验,严防不合规的充电宝乘机。
什么是3C标识?

图片来源:中国质量认证中心
公开资料显示,3C认证(China Compulsory Certification,中国强制性产品认证)是我国为保护消费者人身安全、国家安全及环境,依法实施的强制性市场准入制度。
根据国家规定,自2024年8月1日起,未获得CCC认证证书和标注认证标志的相关产品,不得出厂、销售、进口或者在其他经营活动中使用。


青岛胶东国际机场携带充电宝乘机附加要求及充电宝自弃桶
随着本次民航局新规的实施,不少机场新增充电宝核验处置点以及充电宝自弃桶。
值得注意的是,近期多个头部品牌充电宝厂家因电芯存在安全风险对多批次产品实施召回。
6月16日,深圳罗马仕科技有限公司发布公告,召回超49万台移动电源。这些召回的移动电源产品由于部分电芯原材料来料原因,极少数产品在使用过程中可能存在过热现象,在极端场景下可能产生燃烧风险,存在安全隐患。
6月20日,因发现某供应商部分批次的行业通用电芯,存在未经批准的原材料变更,这可能导致极少数产品在长期循环使用后隔膜绝缘失效,进而引发过热甚至燃烧的安全隐患,安克创新(300866)也启动对部分批次的基础款移动电源产品主动召回,合计超71万件。
此前,安克创新还宣布在美国召回115万台充电宝,原因是锂离子电池可能存在过热,从而导致塑料部件熔化、冒烟和火灾危险。
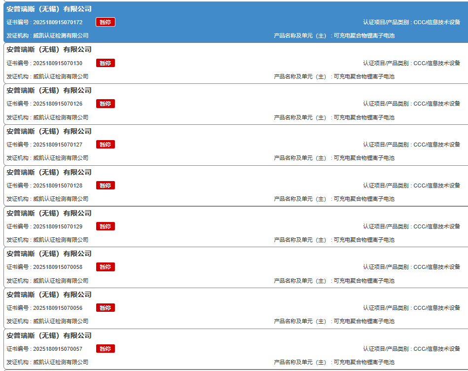
近期,国家市场监督管理总局撤销或暂停了多个充电宝及电池芯厂家3C认证。

全国认证认可信息公共服务平台查询的信息显示,电池供应商安普瑞斯(无锡)有限公司的多个相关电池及电芯产品3C认证证书处于“暂停”状态。此外,罗马仕、安克创新、倍思、绿联等移动电源品牌的多个3C认证证书也被暂停。
3C认证是“入场券” 而非“通行证”
令人意外的是,近期安检口被拦下的充电宝上,部分外壳上均有清晰印有3C认证标志。
没有3C标志的充电宝都上不了飞机,但为何部分有3C认证的充电宝也被拦下?
此次民航局新规,是禁无3C标识的充电宝“上”飞机,即使是有3C标识、可以带上飞机的充电宝,也需遵守相关规定,不得使用充电宝给电子设备充电。同时,始终关闭有启动开关的充电宝。

此前,还有网友发现,部分电商平台曾售卖“3C认证贴纸”,每张成本仅几分钱。

图片来源:国家应急广播
商家往往以“装饰贴纸”为名规避监管,或盗用其他产品证书编号上架,实质构成伪造认证标识行为。若消费者购买后贴于未认证产品上,将涉嫌“冒用认证标志”,涉事产品可被查封。
不过,目前在各大主流电商平台检索发现,“3C贴纸”等关键词已被屏蔽,相关商品也已下架。
那么,如何分辨3C标志真伪?通常可以通过立体效果、防伪码、网上查询等方法辨别。
例如,从3C认证标识的正面对光观察它,标识为白色底板、黑色图案,用目光对准标识画面观察,应有深远的立体视觉,有真实感。同时,通过安全认证的商品,都有唯一的编码,撕开3C标志后,就会看到这个防伪码。也可以登陆中国质量认证中心的官方网站查询。

电池网注意到,近日,市场监管总局全面开展2025年产品质量国家监督抽查工作,将对164种产品开展国家监督抽查。其中,充电宝、电动自行车、燃气用具等产品抽查批次数大幅提升。
今年6月18日,工信部网站公开征集17项强制性国家标准制修订计划项目的意见,其中包括《移动电源安全技术规范》。修订计划拟新增或加严过充电、针刺、挤压、热滥用等试验要求,拟提出正负极、隔膜、电解液等直接影响电池安全的关键材料要求等。
安全无小事,每一道规定背后都承载着对生命的尊重和保护。
民航局表示,2025年以来,旅客携带的充电宝等锂电池产品机上起火冒烟事件多发。
据悉,3月20日,由杭州飞往香港的航班上,飞机头顶客舱内发生起火事件,随后飞机紧急降落。法国航空事故调查局文件显示,该事故是由充电宝的热失控引起的。
5月31日,中国南方航空一架飞机上,一旅客携带的相机电池、充电宝出现冒烟情况,导致飞机返航。
6月10日,山东航空SC1160航班上,有乘客携带的充电宝冒烟。
6月13日,上海航空FM9449航班在飞行过程中,出现充电宝冒烟的情况,旅客接力递水扑救,好在最终航班安全降落。
结语:充电宝安全无小事!消费者选购时,请务必核对3C认证、召回信息及实际容量,谨防安全隐患。 同时,充电宝登机新规落地、大规模产品召回潮以及部分3C认证被撤销或暂停,正深刻重塑行业格局,标志着监管全面趋严:全链条治理强化、供应链责任压实、质量追溯体系完善、电池安全技术升级已迫在眉睫。充电宝行业竞争将加速从“价格战”向“价值战”转变,安全与品质成为核心赛道。
海融网声明: 凡本网注明“来源:海融网”的作品或图片,版权均属于海融网。海融网与作品作者联合声明,任何组织、机构未经海融网书面授权不得转载、摘编或利用其它方式使用上述作品。凡本网注明来源非海融网的作品,均转载自其它媒体或合作单位,转载目的在于更好服务用户和读者、传递信息之需,并不代表本网赞同其观点,本网亦不对其真实性负责,持异议者应与原始出处或信源主张权利。特别提醒:本网刊发或转载涉及资本市场或上市公司文章不构成任何投资建议,投资者据此操作,风险自担!