2021-12-23 11:00
三家稀土巨头资产重组获批 国内稀土市场加速整合长按二维码阅读全文

图片来源:五矿稀土
据此前彭博NEF的数据,中国控制着全球三分之二的稀土开采和85%的稀土精炼,是世界上稀土资源最丰富的国家,素有“稀土王国”之称。但是,稀土行业在早些年非法开采严重,价值利润不匹配,导致了稀土资源的严重浪费,之后便由工信部牵头兼并重组,形成了以包钢集团、中铝集团、中国五矿、广东稀土、赣州稀土和厦门钨业等6家企业为主导的行业发展格局,并表示支持6家企业组建大型稀土集团,开辟新局面。
随着新能源汽车销量持续走高,新能源行业对于稀土需求越发高涨,稀土价格也一直大幅上涨,备受市场关注的稀土行业整合事项,也有了实质性的进展。
12月22日,五矿稀土(000831)公告称,公司接到中国五矿通知,经国务院国资委研究并报国务院批准,同意中铝集团、中国五矿、赣州市人民政府等进行相关稀土资产的战略性重组,新设由国务院国资委控股的中国稀土集团。

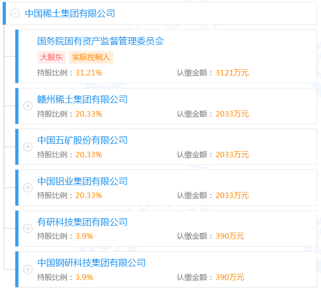
据企查查显示,组建后的中国稀土集团属于国务院国资委直接监管的股权多元化中央企业,注册资本1亿元,国务院国资委持有31.21%的股权,赣州稀土集团、中铝集团、中国五矿分别持股20.33%,有研科技集团有限公司与中国钢研科技集团有限公司分别持股3.9%。中铝集团董事、党组副书记敖宏担任中国稀土集团法定代表人和董事长,五矿稀土董事长、董事刘雷云出任中国稀土集团总经理。
据悉,中铝集团持有的中国稀有稀土股份有限公司的股权,中国五矿所属企业持有的五矿稀土股份有限公司、五矿稀土集团有限公司的股权,以及赣州稀土集团及所属企业持有的中国南方稀土集团有限公司、江西赣州稀有金属交易所有限责任公司、赣州中蓝稀土新材料科技有限公司的股权整体划入中国稀土集团。
海融网了解到,中国五矿、中铝集团以及赣州稀土集团都隶属于国资委,新设中国稀土集团同样隶属于国资委,所以在重组方面较为便利,并且可以进一步提高对于稀土行业的把控,在全球新能源的大趋势下,资源竞争的优势会更加明显,更有话语权。
值得关注的是,本次重组后,五矿稀土控股股东仍为五矿稀土集团有限公司,实际控制人将由中国五矿变更为中国稀土集团。
海融网声明: 凡本网注明“来源:海融网”的作品或图片,版权均属于海融网。海融网与作品作者联合声明,任何组织、机构未经海融网书面授权不得转载、摘编或利用其它方式使用上述作品。凡本网注明来源非海融网的作品,均转载自其它媒体或合作单位,转载目的在于更好服务用户和读者、传递信息之需,并不代表本网赞同其观点,本网亦不对其真实性负责,持异议者应与原始出处或信源主张权利。特别提醒:本网刊发或转载涉及资本市场或上市公司文章不构成任何投资建议,投资者据此操作,风险自担!