2025-07-08 15:24
又一罗马仕充电宝充电时爆炸 目击者称不是召回型号长按二维码阅读全文

7月7日,据媒体报道,网友发布办公室监控画面称,一罗马仕充电宝突发爆炸。目击者称,充电宝是同事去年买的,不是召回型号。

企查查信息显示,深圳罗马仕科技有限公司(简称“罗马仕”)成立于2012年3月,雷社杏担任公司董事、经理、法定代表人,注册资本600万元,由雷桂斌、雷灿伙共同持股。值得一提的是,该公司法定代表人、董事等频繁出现更换。
其中,雷灿伙先后退出深圳润雨田实业有限公司股东并卸任法定代表人职务,随后卸任深圳世海雨田实业有限公司法定代表人、执行董事、总经理职务。而雷桂斌分别卸任深圳罗马仕科技有限公司法定代表人、执行董事、经理职务,退股深圳润雨田实业有限公司并卸任监事职务,后续又卸任七千猫(江门)科技有限公司、江门罗马仕科技有限公司、深圳七千猫设计服务有限公司、清远罗马仕科技有限公司、江门惠比寿电子科技有限公司法定代表人及高管职务。
另据报道,7月7日,罗马仕深圳总部聚集大批员工,现场打包物品互相倾诉。其员工透露,“从4月份开始,罗马仕雷桂强、雷灿锋、雷桂斌、李秋华、雷灿伙五位主要负责人就已经全部退出钉钉群了,企业钉钉也查不到他们任何信息,目前已经几个月没露面了”。

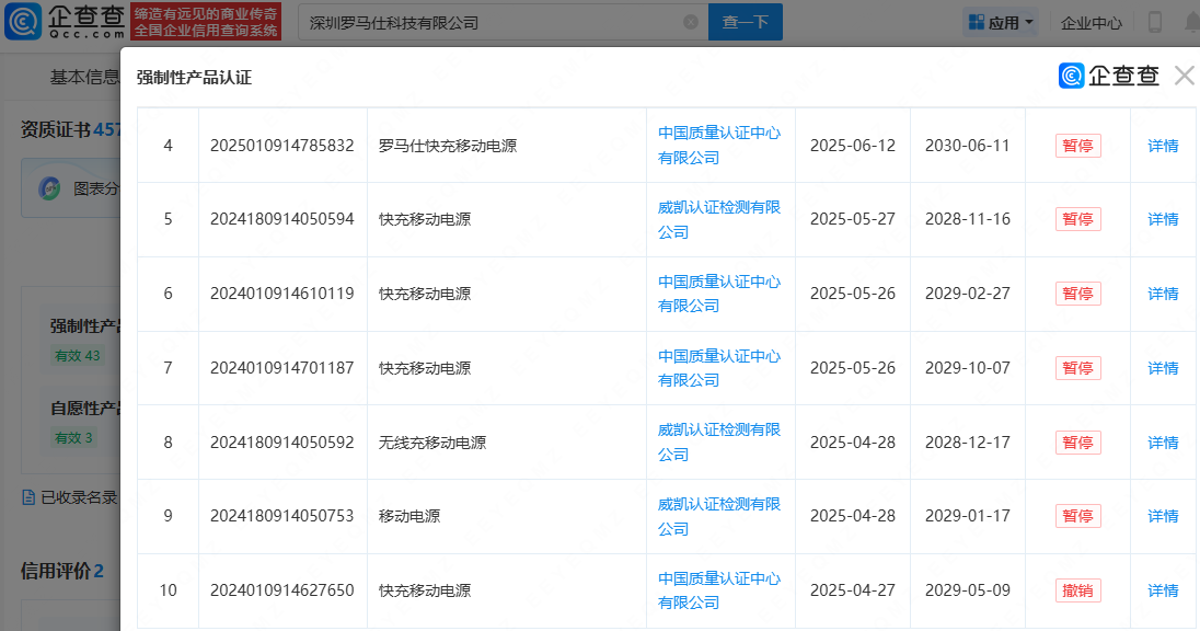
另外,信息显示,目前罗马仕公司多个“CCC认证”证书处于暂停或撤销状态。

海融网声明: 凡本网注明“来源:海融网”的作品或图片,版权均属于海融网。海融网与作品作者联合声明,任何组织、机构未经海融网书面授权不得转载、摘编或利用其它方式使用上述作品。凡本网注明来源非海融网的作品,均转载自其它媒体或合作单位,转载目的在于更好服务用户和读者、传递信息之需,并不代表本网赞同其观点,本网亦不对其真实性负责,持异议者应与原始出处或信源主张权利。特别提醒:本网刊发或转载涉及资本市场或上市公司文章不构成任何投资建议,投资者据此操作,风险自担!